• TOP>
  • 論文の書き方

論文の書き方

I.まえがき

 照明学会論文号への投稿が順調に増加し,年間30編以上の論文を掲載する状態になっている.投稿者各位に厚く御礼を申し上げたい.
 本解説は照明学会誌82巻5月号(1998年)に掲載した[論文の書き方]を,その後に論文委員会に寄せられた意見を参考にして追加・修正したものである.本解説が論文執筆に多少なりともお役に立てれば幸いである.

II.論文の目的

 科学技術論文とは,今まであきらかにされていなかった科学技術に関する事項について今回著者が初めて明らかにしたと読者に主張・説得する文章である.したがって論文はまず今回著者が初めて明らかにしたとする事項[論文の主題]が何であるのかを明確に記述し,そして明らかにしたと主張する根拠を示し,読者に説得性をもつ論旨で記述されなければならない.

III.一論文一オリジナリティの原則

 論文は取り上げた主題で完結していなければならない.すなわち一連の複数論文で一つのオリジナリティが完成されてはならない(一連の研究であっても個々の論文はその都度の主題毎にまとめられなければならない).単に研究を時間的に分割した中間報告的論文,あるいは分量が多くなったためだけの理由で分割した論文は許されない.同様に一論文に複数のオリジナリティが含まれているのも不適当である.この場合はオリジナリティ毎に論文を投稿すべきである.

  • (1)しばしば論文表題が同一で,その1,その2と続けている一連の論文が見受けられるが,一論文一オリジナリティの原則が理解されていれば当然表題は各論文ごとに異なるはずである.一連の研究であることを示すために同一の副表題を設け,その1,その2と続ける事は差し支えない.
  • (2)一連論文であるからと言って続編の図表番号に前報からの通し番号を用いてはならない.また前報の成果を用いて次の論文を構成する場合,前報を参照しなくてもその論文が理解できる程度に前報の成果を必要最小限記載しなければならない.

IV.論文の構成

 論文では著者の主張を論証するために,それに適した記述構成が用いられる.すなわち通常以下の章構成で記述される.

[表題]

 論文の主題を一行で表したのが表題になる.表題を読むだけで論文主題内容が分かる表現でなければならない.

  • (1)表題には慣用的に使用されている場合を除いて略号を使用してはならない.
  • (2)例えば「新しい計測法」「高齢者に優しい…」のように漠然とした表現は不適切である.「新しい」あるいは「優しい」とする具体的な方法を明示した表現でなければならない.
1.緒言

 緒言では論文の主題(目的)が何であるのか,そしてその主題の意義,およびそれがいまだ明らかにされて来ていないことを述べる.

(主題の意義)科学技術論文の主題は一般に[発見]および[発明・考案・工夫]である.[発見]の場合,発見自体に意義があるため必ずしも細述することを要しない.これに対し[発明・考案・工夫]では従来の手法に対しどのような利点があるのかを明確にすることが必要である.発明・考案・工夫は無限個考えることができるものであり,そのうち意義をもつのは従来の手法に対しなんらかの優位性を主張できるものに限定されるからである.また過去に比較すべき例が無い場合でも,著者の発表する発明・考案・工夫が意義があることを社会的背景を引用するなどで主張することが必要である.なんら社会的ニーズが(今後とも)ない事柄であればその発明・考案・工夫は価値を有しない.

(主題の新規性)論文主題が今まで明らかにされていないことを主張するには公知文献が無いことを主張すればよい.一般に論文主題を明確化するためにも,関連する公知文献を紹介し,どこまで先人および著者によって明らかにされているかを示したうえで,いまだ明確にされていない範囲を明示する手法が取られる.
論文主題の明確化のために,緒言の終わりに(上記のいまだ明確にされていない範囲のうち)今回の論文が取り上げた範囲[論文主題]を明示することを薦める.

2.(方法,手段)

 第2章では緒言で記載した論文主題(目的)を達成するために著者が採用した方法,手段を記述する.記述は読者が追試できる程度でなければならない.したがって前提条件,仮定条件,実験条件等も自明でない限り明示する.

3.(結果)

 第3章では著者が採用した方法・手段によって得られた結果を記述する.記述は一般に図表を用いて表す.得られた結果の図表について,単に「結果を図3に示す.」だけの記述では不足である.著者は読者にどの点に着目してほしいのか意識して得られた結果を説明する.例えば素子の温度を変化させたとき出力電圧がわずかに変化する結果が示されたとき,温度変化に対し出力電圧変化が無視できるほど小さいことを主張したいのか,それともたとえわずかであっても変化していることが重要なのかである.著者の目的によって図表の表し方も当然変わる(図表の記載例参照).

4.(検討)

 第4章では得られた結果ならびに必要に応じて公知文献を引用して論文の目的が達成されていることを検証する.検証は得られた結果による直接的な立証がもっとも説得性が高いが,合理的な推論による立証も許される.単なる推論による検証は不可である.検証に当たっては用いた前提条件,仮定条件,実験条件の妥当性の吟味が必要である.例えば対象とする物質に複数の劣化要因が考えられるとき,そのうちの一つの要因に着目して検討する論文では得られた結果に他の要因が及ぼす影響の程度の吟味がなされていなければならない.

5.結言

 目的に対して得られた結論を要約する.論文主題に関係しない副次的な結論は記載してはならない(論文主題以外の重要な結論も得られたのであれば新たに論文を書くべきである).また当然のことながら論文中で検討(記載)されなかった事は結論には記載できない.

[投稿者への推奨]

 原稿は投稿前に他の方に読んでもらっておくことを強く薦める.適当な方がいない場合には原稿を書き上げた後,2~3週間放置して後読み直すとよい.これにより著者の思い込みが防げる.

[見受けられる悪い例]
  • (1)単に著者が行った事項を列記してあるだけで(作業報告書),著者の主張点が不明瞭な原稿.行った事項を著者の論旨に沿って整理・再構成して記述しなければならない.
  • (2)解析などの論文で過去に同様な試みがなされていないとしか主題の意義が記述していない場合がある.過去に発表例がないから意義があるでは乱暴である(意義がないから発表が過去にないのと区別がつかない).
  • (3)掲げた論文主題とその後の論文内容が必ずしも一致していない原稿.論文主題と無関係な事項は記載すべきではない.直接には関係がないが間接的に関係があり,記載した方が読者の理解を助けると判断した場合は付録にまとめるべきである.
  • (4)採用した(方法・手段)とそれにより得られた結果よりなぜ論文主題が達成できたのか論理に飛躍があり理解できない論文.
    • 例1:解析モデルを提案する論文でモデル導出に用いた仮定・前提条件の妥当性が吟味されていない場合.
    • 例2:解析モデルによる計算結果と実測結果がよい一致を示すと主張しているが,比較例があまりに少なく解析モデルがどの程度現象を正確に表しているか,あるいはどの程度の範囲まで適用できるのか判断がつきかねる場合.
    • 例3:測定によりある現象が認められたとき,その現象が得られる機構として複数考えられるにもかかわらず,ただ一つの機構のみを挙げて論文主題が達成されたと主張する原稿.
  • (5)目的と得られた結論が普遍性に乏しい原稿
    • 例4:ある特定の機器の性能改善に特定の対策を行って得た結果で他に応用ができない報告.
    • 例5:単なる測定結果で,得られた結果が今後の応用になんら用いることができない例.
    • 例6:銅鉄実験の類いの論文.銅と鉄で全く別個のオリジナルな結果が得られたのであればよいが,銅の結果から鉄の結果が容易に類推できる場合,後からの鉄に関する論文は価値が乏しい(この場合,論文主題の証明として銅および鉄の両方の結果を同時に記載すべきである).論文主題の証明を銅についての結果で行い論文化した後,鉄についても同様な結果を得て先の論文主題の補強的証明を行うのであれば,原稿の種別は研究資料である.
  • (6)実験条件が統一されていないにもかかわらず,複数の結果を単純に比較している場合.
  • (7)要旨(ABSTRACT),緒言,結言がほぼ同一記述である例が見受けられる.緒言は要旨ではない.また緒言,結言はたんなる”まえがき”,”おわりに”ではない.

V.記述表現

 論文の目的は著者の主張を読者に説得性をもって受け入れてもらうことにあるから,その記述表現も留意が必要である.内容が論文にふさわしい場合でも記述表現があまりに不適当であれば不採録になることがありうる(著者の主張が正しく伝わらないため).また査読者が苦労して判読するようでは内容が適当でも評価が低くなる.論文ではなによりも分かりやすい明確な表現を心掛けていただきたい.

1.数値を用いた表現

 形容詞を用いた情緒的な表現は避け,数値を用いた客観的な表現を心掛ける.

  • 例7:温度を上昇させていくと出力電圧が突然増加した.→温度を上昇させていくと40℃付近で出力電圧が0.1Vから2Vに急変化する.
  • 例8:資料を製作後,室温で十分な時間放置した.→資料を製作後,室温約25℃で12時間以上放置した.
  • 例9:”することが分かった.”の表現を避ける. 実験より出力電圧は温度の2乗に比例することが分かった.→実験結果は出力電圧は温度の2乗に比例することを示す.(著者が結果から何を主張したいのか意識していればおのずと後者の表現になる.)
2.事実と推論の明確化

 論文は主題を明らかにしたと主張する文であるから,記載内容は(少なくとも著者にとっては)事実でなければならない.したがって”変化したためと思われる.”のような推定を表す表現を使用すべきではない.推定表現が許される例外は,それが論文主題の論証に直接影響を与えない事項で,かつ読者に情報を与えることが有用と判断される場合に限られる.

3.簡潔な表現

 簡潔な表現とは単純に記述を簡略にすることではない.読者が容易に理解できるよう十分な記述が必要であるからである.

[冗長な文章]

 冗長な文章の典型は説明の重複,一つの事項が各所に分散記述および論文主題に関係のないことが記載されている文である.各章・節・パラグラフごとにそこに記載すべき事項をまとめておくことが肝要である.
 記載情報が過多である論文は冗長な原稿になりやすい.論文主題の論証に必要な情報に限定するべきである.

[簡潔な表現に有効な手法]

 一センテンスをできるだけ短くする.このためにはまず箇条書きで論文全体を書いてみることを薦める.そして論旨に沿って各条項を並べ変えてみる.この整理方法としてはKJ法(川喜田二郎著:発想法,中公新書)が役に立つであろう.そのうえで読みやすくするために適当な接続詞を補って(一般に少ないほどよい)文章を記述する.

4.現在形による表現

 事実の記述は現在形を用いる.したがって論文は一般に現在形で記述される.例えば実験結果も再現性が保証されない場合を除いて原則として現在形で記述する(例7参照).実験条件などでその条件に必然性が必ずしも無い場合は過去形を用いる(例8参照).

5.英文表記

 英文は上手な表現を試みるより,紛れのない分かりやすい表現を試みるべきである(この基本は日本語と同じである).論文は文学作品ではなく著者の意図が正確に読者に伝わることがまず重要であるからである.

  • (1)平易な語彙と簡素な構文の使用を心掛ける.ただし話言葉は論文では避ける.
    例:very a lot easy cheap→significantly to a large extent simple inexpensive
  • (2)一センテンスは短く.andでやたらと続けない.また関係代名詞をいくつも用いず分割を試みる.
  • (3)単にセンテンス間のつなぎをよくするためだけの接続詞は多用しないほうがよい.
    例:therefore furthermore by the way but howeverなど.
    日本語の感覚では短い文をぶっきらぼうに並べている感じであっても英文ではむしろ好まれることが多い.
  • (4)英文表題(図表表題を含む)では先頭の冠詞は省略されるのが慣例である。
  • (5)英文では主語を省略できない.このためOne We Authorsといった情報価値のない主語の使用を避けるため一般に受動形で記述する.
  • (6)英文での表現法を習得するためにモデル論文を繰り返し読むことを薦める.
  • (7)英作文は英語を母国語とする方に校正してもらうことを薦める.冠詞,単数複数などの正しい選択は英語を母国語としない人間には難しい問題である.ただしこの種のミスは意味の判別に支障が生じるものでない限り通常は寛容である.
  • (8)論文委員会では採録決定したABSTRACT原稿についてNativeによる英文校正のサービスを行っている.著者は校正結果を参考にしてABSTRACTを修正されたい.
6.その他
  • (1)単位記号は原則として人名に基づく単位は大文字(例:V,A,W,Hz,Pa),人名に基づかない場合は小文字(例:?,g,s(秒))である.
  • (2)記号,略号,用語は既に広く用いられており誤解の恐れが無い場合は定義せずに用いてよいが(例:DC,AC,LSI),他と混同する恐れがある場合は定義して用いるべきである(例:ME; medical electronics/micro・electronics).一般的でない用語,略号を使用するときは定義をして用いなければならない.

VI.ABSTRACT

 ABSTRACTについては記述内容がABSTRACTとしての必要要件を満たしていない,ABSTRACTだけを読んだのでは何を著者が主張したいのか分からないという基本的な問題点を指摘する声が査読委員から寄せられている.記述内容が妥当であれば英作文に少々の難があっても著者の意図は伝わる.ABSTRACTは緒言ではない.あくまで論文全体の要約である.したがって論文の主題が何であるのか,そのために用いた手段方法,得られた主要な結果,結論を要領よく要約する.研究の背景,過去の経緯などは省くべきである.まず各項目毎に箇条書きで書き,そのうえで全体を再構成してみることを薦める.
 ABSTRACTの時制は原則として現在形である(4.現在形による表現を参照).

VII.図表の記載

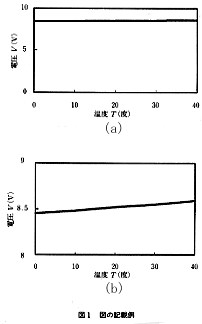
図1

 図表は単に得られた結果を表示するものではない.著者は図表の結果を用いて論文の目的が達成されたことを主張するのであるから,図表の表記もそれに沿った表示方法が必要である.図1の例では(a)図は温度に対し出力電圧がほとんど依存しないことを主張したい場合,(b)図は温度に対し出力電圧がわずかにでも依存することを主張するか,依存してもどの程度であるかを表示したい場合に用いられる.
図表枚数は論文主題の論証に必要な枚数に留めるべきである.また一枚の図に盛り込まれる情報も論証に必要な量に留めるべきである.多すぎる情報はかえって論点をあいまいにする.
 図表題は単なる表題に留まるのではなく,それだけである程度内容が分かる程度の説明があるほうが望ましい.少なくとも図中の記号の意味,点線,実線が何を示すのか,重要な実験条件等は記載されるべきである.

VIII.参考図書

 論文の書き方については多くの図書が発刊されている.これらを参考にされることをお勧めする.下記の参考図書はやや古いが,基本的な事項は変わらない.

  • (1)高橋著:仕事文の書き方,岩波新書.
  • (2)木下著:理科系の作文技術,中公新書.
  • (3)スウェイルス著:すぐに役立つ科学英語の書き方,日経サイエンス社.
  • (4)杉原著:理科系のための英文作法,中公新書.
  • (5)野口著:「超」整理法,中公新書.

IX.査読者からの照会に対する回答への要望

 論文としての採否は査読結果により決める.査読者から内容について疑問が指摘された場合,しばしば査読者には回答がなされているが原稿は訂正されていない場合がある.査読者は読者を代表して質問しているのであるから回答は論文に反映されなければならない.すなわち読者に同じ疑問を生じさせないように記述を改善する必要がある.なお,査読はその分野の専門家にお願いしているが,査読者意見に同意できなければ遠慮なく反論をされたい.  査読者意見に対し,「こんなことも分かっていないのは査読委員の勉強不足だ」と怒り出す著者がまれにおられる.査読者が勘違いしている場合もあるが,ほとんどの場合は原稿に問題がある.著者にとっては自明であっても,読者にはある程度の説明がなければ理解しにくい場合がほとんどである(査読者は読者を代表して質問している).どのように記述すれば自己の論文をより多くの方に読んで理解いただけるか念じて執筆いただきたい.
 原稿を訂正する場合,原則として全文を打ち直す.読みにくい原稿は査読者への負担を強いる.ごく少量の訂正の場合は直接原稿に修正部分を記入してもよいが,その場合でも印刷用最終原稿は全文を打ち直す.

X.論文委員会からの要望

1.寄稿のしおり

 投稿に先立って寄稿のしおり(本号別掲)を熟読されることを要望する.特に査読および印刷の迅速化のため指定された書式を守っていただきたい.

2.研究速報活用のお薦め

 研究の途中段階であってもすみやかに公表することが適当と判断される結果が得られた場合,その内容を研究速報に投稿されることをお勧めする.研究速報では結果の完全性を要求しない.明らかに公知または明らかな間違いがなければ論文委員会はすみやかに掲載する.また研究速報で公表しても後の論文にたいしこれを公知資料とはしない.研究の活発化のためにも,研究速報を活用されることを要望する.

3.照明施設に関する論文投稿のお薦め

 照明施設に関する論文が現在のところ皆無である.施設報告は客観的な評価が難しいため論文の対象にならないと考えられているためかもしれない.しかし以下のような内容で構成し,今後の施設設計に有用性が認められれば論文としての掲載が可能と考える.施設設計に携わっておられる方の検討をお願いする.

[目的]

対象とする施設の目的に対しどんなコンセプトで照明設計を考えたのか(例:快適さ,省エネルギー,安全性など.)

[方法・手段]

この目的を達成するためにどのような光源,どのような配光特性の器具をどのような配置で用いたのか.また他の条件(空調,防災システムなど)との調和をどのようにしたのか.設計手法として模擬実験(コンピュータグラフィクスを含む)を利用したのであればこれらも含める.

[結果]

照度分布,輝度分布,被照明物の視認性,消費電力などの測定値とそれらに基づく解析.

[検討]

掲げた目的(コンセプト)に対し施設で得られた結果がどの程度満たされたかの検証.

PAGE TOP